氣體滅火知識
消防維保
主機維修
聯(lián)系我們
- 聯(lián)系人:郭經理
- 傳真:010-69552656
- 電話:400-0346-119
- 電話:010-57491119
- 郵箱:506665119@qq.com
- 地址:北京通州區(qū)M5運河1號3號樓403室
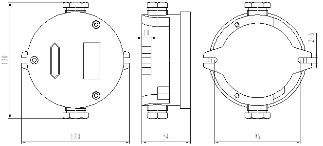
金鼎JDAS防爆點型火災探測器安全柵外形示意圖
來源:消防維保 時間:2018-10-12 09:48:38

JDAS防爆安全柵外形圖

來源:消防維保 時間:2018-10-12 09:48:38

JDAS防爆安全柵外形圖